Excel电子表格的合理设置
用作记录模板(母版)使用的电子表格
存在使用Excel保存电子版记录模板(母版)的情况,此类表格没必要以excel形式出现,建议另存为PDF或打印后使用。
台账类缺陷:有限数据完整性
台账类好的做法目前已使用质量管理系统或文件管理系统代替。EXCEL本身并不包含能够确保数据完整性的功能,因此需要有更多的控制措施。FDA曾对使用EXCEL作为投诉台账而无法确保数据修改和没有审计追踪的警告信:
FDA警告信已对投诉台账不合规落下严重
your Complaint SOP states that QA shall maintain the customer complaint report files. Your firm’s QA unit maintains a separate Excel spreadsheet for those complaints that come directly into the Bridgeton QA unit. You have no centralized system for tracking all your complaints. The use of Excel requires many management controls to prevent data alteration, and Excel does not have an audit trail to identify data changes.你们的投诉SOP里说QA应该维护客户投诉报告文件。贵公司的QA部门使用一个单独的Excel表格来维护那些直接发到Bridgeton QA部门的投诉。你们没有集中式的系统来跟踪你们所有的投诉。使用Excel需要很多管理控制措施来防止数据修改,并且Excel没有审计追踪来识别数据变更。——FDA Warning Letter:PM Resources, Inc. dba Virbac Animal Health, Inc.
有关使用EXCEL作为台账登记的数据完整性评估和合理做法罗列如下:

需要注意的是,由于Excel数据完整性方面的自身缺陷,不应使用Excel表格来作为原始记录的载体,只能用作信息展示。使用Excel作为电子台账载体时,一定要有其他的原始记录,并且建议在Excel中登记这些原始记录的位置。
计算模板类/工具类:
使用EXCEL作为计算模板或工具使用需要通过以下措施进行管理:
文件存放及安全 |
l存放在专用网络共享(或专用电脑),最终用户只读。 |
l 最终用户对共享网络或专用电脑文件夹不具备修改权限(添加删除文件) |
l 用户对存放EXCEL网络共享(或专用电脑)中的文件读取方式不应为下载到本地打开使用(FTP不被接受) |
l最终用户可以读取文件,在可编辑区域(未锁定)输入数据,打印表格 |
l 安装之后完成核查并记录核查过程 |
表格设置及使用 |
l 包含公式的单元格应锁定,密码保护,用户不应知道锁定密码 |
l 除单元格锁定之外,工作薄结构也要进行密码保护(审阅>保护工作薄)。 |
l 用于数据输入的单元格(可编辑区域)用颜色区分 |
l 数据有效性:可用来防止在数据输入单元格中录入非法值 |
l 用于呈现计算结果的单元格(输出结果)用颜色区分 |
l 用条件格式显示不合格结果 |
l 要求负责数据录入的操作员姓名以及数据录入的日期和时间应记录在专用的输入单元格中,或将计算完成后的表格打印并签字/日期。前者涉及电子签名,建议用后者。 |
l 表格打印时,需包含文件路径、表格文件名称和 MS EXCEL 版本号。用‘=CELL("filename")’‘=INFO("RELEASE")’可用于显示路径、文件名、活动表和所用的 MS EXCEL 版本号。 |
验证要求 |
l 文件描述:解释其用途、结构、输入类型和数据验证规则 |
l 保存一份完整打印出的表格,在其中要显示所有公式(公式>显示公式) |
l 宏表格:打印出 VBA 代码并保存在验证文件中。 |
l 表格变更控制:建议简化的变更控制,进行文件版本控制 |
l 记录表格创建、验证所用的excel版本号。建议所有电脑统一使用一种excel版本比较可靠,减少兼容性问题。 |
l 计算验证:软件对比,人工对比,PC 自带计算器计算结果截屏 |
l 其他功能核查: |
l 权限控制(文件访问/修改/删除/增加) |
l 单元格保护 |
l 工作簿保护 |
状态维护 |
l 每年再验证(核查相关功能) |
l 版本升级进行再验证,版本升级包括excel软件版本和excel文件版本。 |

Excel电子表格验证方案
Excel电子表格检验记录风险控制
1 目的
将常规电子表格进行风险控制使其能成为符合预定用途、具有特殊功能的电子表格,满足实验室具体需求。
2 适用范围
本文件适用实验室于Excel电子表格检验记录的风险控制。
3 概述
我部门部分检验记录涉及比较复杂运算,普通手工计算占用分析人员较多的时间,且计算过程与结果需经较多复核才能保证准确无误,不利于工作高效开展。计划将部分检验记录设计成电子表格。优势:可以大量节约分析时间,缩短复核、审核过程提高工作效率。劣势:常规的电子表格记录存在风险。为保证电子表格从设计到应用的整个过程均准确、可靠、安全、有效,需要对电子表格检验记录风险加以控制,形成特殊功能的电子表格检验记录以符合实验室具体要求。
4 人员资质与职责
4.1风险评估小组

4.2设计人员

5 内容
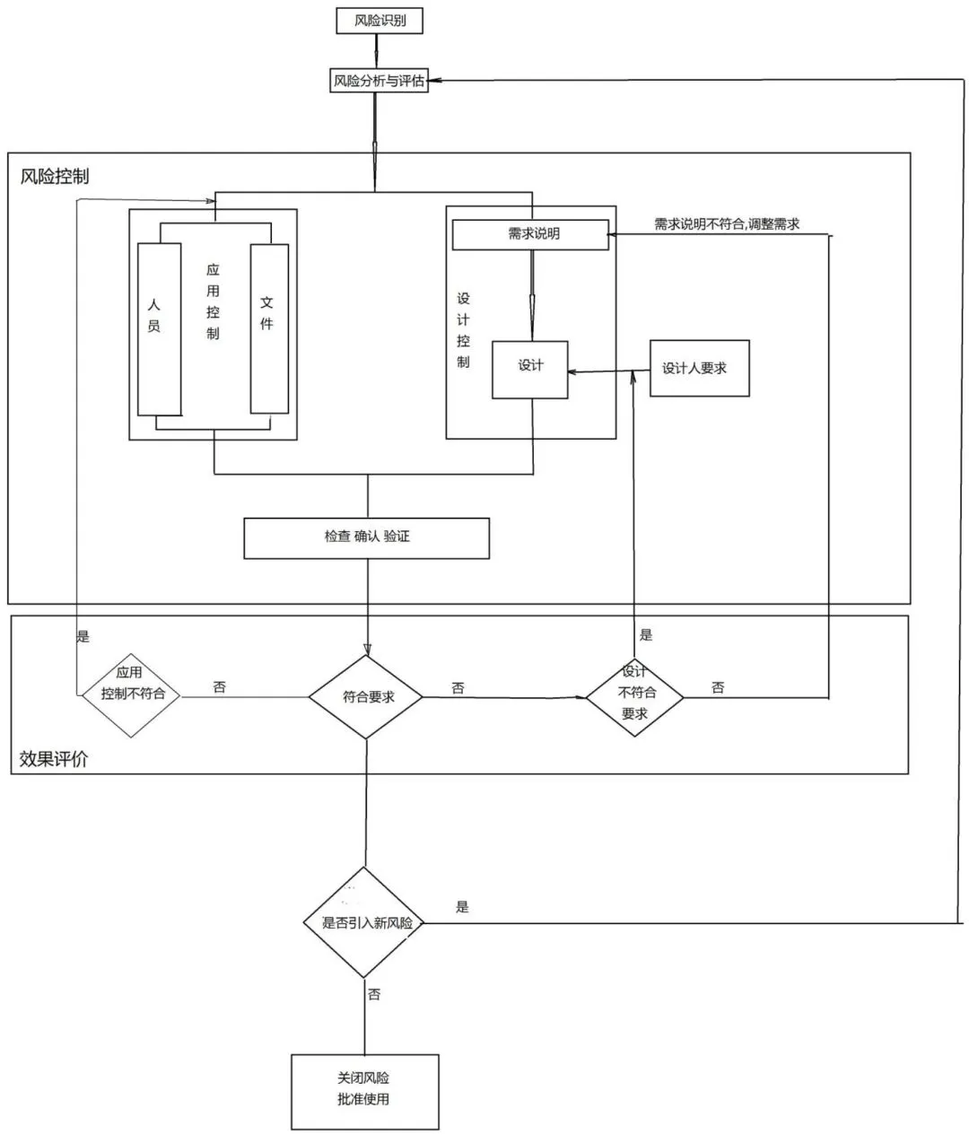
风险管理按如下流程组织开展工作。

5.1风险识别
通过对电子表格的常用情况调查分析.认定能够影响常规电子表格的安全性、有效性、准确性及完整性的因素可视为风险。如下表所示:

5.2风险分析
采用适当的工具对风险的影响因素成因进行分析。准确性采用因果图较为合适。下图有助于准确性及逻辑判定的成因分析。对分析出的影响因素的危害程度暂不进行风险评估,分别在设计与应用方面探寻有效的预防与控制措施。

5.3风险控制
分别在应用与设计阶段采用有效的预防与控制措施对风险进行实际控制。下表提供部分控制措施与方法。更多的控制方式与接受方式以文件形式列出。(需求说明、操作SOP、验证方案)

5.4控制效果评价
5.4.1设计效果评价
分别对电子表格检验记录设计阶段的安全性、准确性、有效性及完整性进行评价,确认控制效果能够符合预期要求。
5.4.2应用效果评价
评价应用文件的准确性、完整性。
评价表格的可操作性进行。
5.5剩余风险
剩余风险是指运用了控制和风险管理技术以后而留下来的风险。
剩余风险采用其它可行的管理办法。以下类型为可能存在的剩余风险。

6评价意见与建议见报告
Excel电子表格需求说明书
1 目的
本文件的执行将记录和证明我公司质量控制部门关于Excel电子表格检验记录需求的具体内容。相关部门应以此标准为依据对Excel电子表格检验记录的设计、安装、使用、及变更进行必要的确认、验证和控制。
2 范畴
本文件用于规范我公司质量控制部门的Excel电子表格检验记录,以符合实际应用需要。
3 定义
3.1原始数据:任何实验室工作表,记录,备忘录,笔记副本均属于原始数据。也包括照片,微缩胶片电脑打印、磁介质,口述资料及自动化仪器记录数据(天平称量、LC、GC、UV等)。
3.2二级数据:二级数据指计算过程与结果产生数据,利用原始数据(标准品、样品的称样量,稀释倍数,稀释因子等)产行的结果,也包括观测数据,如出现错误可以重新建立。为验证二次数据,填入电子表格的原始数据需要手工输入,验证的结果需要记录并签字确认。
3.3手工计算:操作人、复核人或审核人用电子计算器或windows附件中计算器对原始数据、二级数按照规定的计算方式进行计算。
4 需求说明
我公司部分检验记录涉及比较复杂运算,普通手工计算占用分析人员较多的时间,且计算过程与结果须经多次复核以才能保证准确无误,不利于工作高效开展。将部分检验记录设计成电子表格可以大量节约分析时间,缩短复核、审核过程。
常规的电子表格记录存在风险,为保证电子表格从设计到应用的整个过程均准确、可靠、安全、有效,对电子表格检验记录加以风险控制并提出如下要求(*项目与风险控制相关)。
4.1基本要求
Excel电子表检验记录设计应简单明了,结构清晰,内容准确;录入数据集中,便宜复核、审核;安装位置固定,安全可靠,使用方便。
4.1.1电子表格功能设计要求

4.1.2内容设计要求
4.1.2.1页面设计要求

4.1.2.2格式设计要求
4.1.2.2.1字体

4.1.2.2.2数字

4.1.2.2.3保护
录入单元格应“不锁定”,非录入单元格的均应“锁定”。
4.1.3安装要求

4.1.4使用需求

4.2其它要求
4.2.1设计详细信息

4.2.2变更要求

4.2.3备份与恢复要求

5参考
Good Laboratory Practice (GLP) Regulations
21CFT part 11
6未尽事项
详见附录 01
HPLC外标法电子表格检验记录
1.需求说明
电子表格检验记录除了应符合正文部分4.1的基本要求和4.2其它要求外还应符合以下要求。
2.具体要求
表格分为普通表格和电子表格两部分
普通表格:无任何自动计算功能的电子表格部分。
电子表格:可自动计算的表格。
2.1普通表格要求
批号、来源、色谱条件及供试品制备必须手工填写,其余部分可手工填写,也可提前录入。
2.2电子表格内容要求

3计算

Excel电子表格验证方案
1.目的
证明实验室Excel电子表格检验记录在整个设计到应用的过程中准确、可靠,符合预定要求。
2.适用范围
适用于实验室含HPLC量测定电子表格检验记录的确认与验证。具体如下:
3.职责

4.概述
我公司部分检验记录涉及比较复杂运算,普通手工计算占用分析人员较多的时间,且计算过程与结果须经多次复核才能保证计算无误,不利于工作高效开展。现有部分记录设计成电子表格能大量节约分析时间,且缩短复核过程。为保证电子表格在整个设计到应用的过程中准确、可靠,符合预定要求。根据公司验证相关规定,对电子表格检验记录的设计、安装、使用、及变更进行确认、验证和控制。本方案验证涉及的引用标准和专业术语如下
4.1引用标准
Excel电子表格检验记录需求说明书
4.2术语
4.2.1原始数据:任何实验室工作表,记录,备忘录,笔记副本均属于原始数据。也包括照片,微缩胶片电脑打印、磁介质,口述资料及自动化仪器记录数据(天平称量、LC、GC、UV等)。
4.2.2二级数据:二级数据指计算过程与结果产生数据,利用原始数据(标准品、样品的称样量,稀释倍数,稀释因子等)产行的结果,也包括观测数据,如出现错误可以重新建立。为验证二次数据,填入表格的原始数据需要手工输入,验证的结果需要记录并签字确认。
4.2.3 手工计算:操作人、复核人或审核人用有统计功能电子计算器或windows附件中计算器对原始数据、二级数按照规定的计算方式进行计算。
4.2.4单元格:表格中的最小单位,可拆分或者合并。单元格是表格中行与列的交叉部分,它是组成表格的最小单位,单个数据的输入和修改都是在单元格中进行的。
4.2.5Excel函数:即预先定义,执行计算、分析等处理数据任务的特殊公式。
5.内容
5.1设计确认
5.1.1文档确认
文件设计信息、内容类型设计、数值单元格设计、计算函数公式单元格内容格式、逻辑判定单元格及插入对象等详细信息应符合设计要求。
5.1.1.1确认方法:与Excel电子表格检验记录需求说明书进行逐项比对。
5.1.1.2接受标准:内容、形式、功能应符合Excel电子表格检验记录需求说明书要求。
5.2安装确认
5.2.1参照Excel电子表格检验记录需求说明书确认安装环境。
5.2.2列出文件安装信息。
5.2.3计算机管理员按照规定要求安装电子表格文件、分配系统和分析人员权限。
5.2.4参照Excel电子表格检验记录需求说明书确认文件安装符合性。
5.3运行确认
在数值单元格区域录入原始数据、二级数据,表格可实现自动计算,数据有效性判断,逻辑判定等功能可自动实现。详细要求参考Excel电子表格检验记录需求说明书,确认文件运行符合性。
5.4安全性验证
5.4.1计算机操作系统受密码保护,未经受权用户不能进入系统。
5.4.2分析人员删除电子表格文件提示操作出错应与系统管理员联系。
5.4.3电子表格、工作表、工作箔受密码保护;固定单元格为锁定模式,不可以编辑;活动单元格可录入或删除文本及数据。
5.5数据有效性验证
5.5.1输入与Excel电子表格检验记录需求说明书不一致的数据应提示出错或标示红色。
5.5.2计算输出的数值与规定范围不一致标示红色。
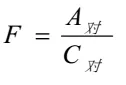
5.6准确性验证(外标法)
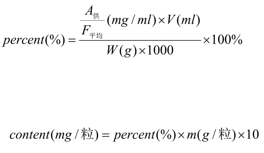
5.6.1峰面积响应因子F
计算式:

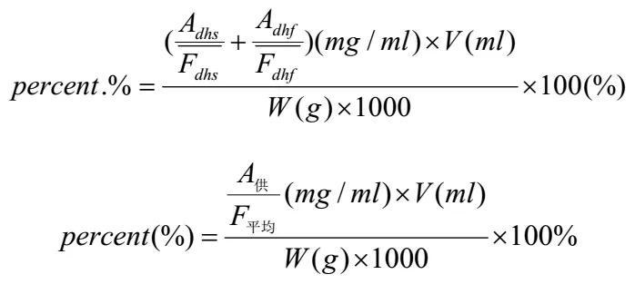
5.6.2对照峰面积响应因子F平均计算
计算式

电子表格函数:=Average(响应因子单元格范围)
5.6.3百分含量计算

5.6.4含量计算

5.6.6含量平均

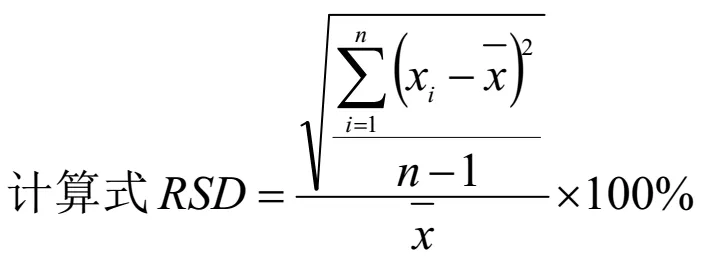
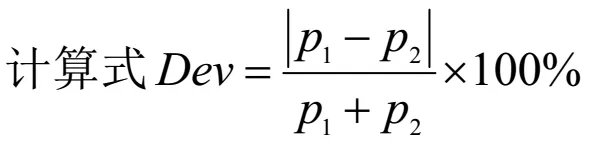
5.6.7相对标准偏差
计算式

电子表格函数:=stdev(Array)/average(Array)
5.6.8相对平均偏差
计算式

5.6.9验证方法计算:手工计算
5.6.10接受标准:电子表格计算结果应与手工计算结果一致。
5.7有效数值修约
参照Excel电子表格检验记录需求说明书电子表格自动修约应与人工修约一致。
5.8逻辑判定
在符合要求情况下人工判定应与电子表格判定一至。在不符合要求情况下,输出空单元格。
6.验证实施进度见报告说明
7.验证培训
验证前对验证小组成员进行验证内容培训,培训记录附于验证报告后。
8.异常处理
验证过程应按Excel电子表格检验记录需求说明书要求进行验证,期望项目出现不符合要求时,应明确是否可接受;必须项出现不符合要求时应分析并找出原因,采取正确的处理措施,使其符合要求。
9. 验证结果结论详见验证报告
XXX电子表格验证报告
1概述
根据验证有关规定及风险控制的要求,对电子表格检验记录的设计、安装、使用、及变更进行确认、验证和控制;以保证电子表格在整个设计到应用的过程中准确、可靠。符合预定要求。
2说明
本次验证属于首次验证,验证确认范围包括设计、安装、使用和控制四个部分。设计确认函盖外观式样、功能设计和逻辑判定。验证部分包括数据有效性,安全性,计算和逻辑判定准确性。管理控制部分为文件的使用权限、变更要求。(带*号项目与风险控制相关。)
3验证结果汇总
3.1设计确认
3.1.1文件设计信息

3.1.2电子表格功能设计确认

3.1.3内容设计确认
3.1.3.1页面设计确认

3.1.3.2字体

3.1.3.3数字

3.1.3.4保护
录入单元格应“不锁定”,非录入单元格的均应“锁定”。结果符合要求。
3.1.3.5内容确认

3.2安装运行确认
3.2.1安装信息

3.2.2安装确认

3.2.3运行确认

3.3验证
3.3.1安全性验证(*)

3.3.2有效性验证(*)

3.3.3准确性验证(*)

4验证后需修订的文件汇总
新增XXX电子表格检验记录
5评价分析
无
6结论
XXX电子表格检验记录经过设计、安装运行确认及安全性、准确性、有效性验证,符合预定要求,满足本实验室实际需要。
7建议
计算式、逻辑判断、有效数值修约和安装位置未发生变更不需要进再验证。计算机发生故障、软件硬件变更及系统恢复后,经过评估后对表格进行再验证。
8批准意见
质量负责人:
附录 01

数值单元格

计算函数公式单元格

逻辑判断单元格

计算公式

XXX电子表格风险控制报告
1概述
为保证XXX电子表格从设计到应用的整个过程均准确、可靠,对电子表格检验记录进行了风险控制。控制要求见需求说明书XXXX带*项目,控制结果详见XXX验证报告XXXX带*项目。
2人员资质
2.1风险评估小组

2.2设计人员

3控制效果评价
3.1设计效果评价
通过对XXX电子表格检验记录的验证。表格在安全性、准确性、有效性及完整性可能存在的风险进行了有效控制。达到预期的目的。
3.2应用效果评价
电子表格检验记录使用SOP简单易懂,操作人员能够正确理解及使用。
4剩余风险
可能存在如下剩余风险。

5建议
XXX电子表格检验记录自身可能存在的风险得到有效控制,与此相关的剩余风险也有有效的预防管理措施,未引入新的风险。建议关闭风险、批准使用。
6批准意见
质量负责人:
电子表格使用SOP
1 目的
规定电子表格检验记录的使用方法。
2 适用范围
适用于实验室电子表格检验记录的使用。
3 职责
3.1 理化检验室主任:负责保证此文件的执行。
3.2 检验员:负责按此规程使用电子表格检验记录。
4 定义
4.2.1原始数据:任何实验室工作表,记录,备忘录,笔记副本均属于原始数据。也包括照片,微缩胶片电脑打印、磁介质,口述资料及自动化仪器记录数据(天平称量、LC、GC、UV等)。
4.2.2二级数据:二级数据指计算过程与结果产生数据,利用原始数据(标准品、样品的称样量,稀释倍数,稀释因子等)产行的结果,也包括观测数据,如出现错误可以重新建立。为验证二次数据,填入表格的原始数据需要手工输入,验证的结果需要记录并签字确认。
4.2.3单元格:表格中的最小单位,可拆分或者合并。单元格是表格中行与列的交叉部分,它是组成表格的最小单位,单个数据的输入和修改都是在单元格中进行的。
5 编订依据
无
6 内容
6.1电子表格使用
6.1.1在本地硬盘E:上找到《电子表格检验记录》文件夹,打开需要使用的电子表格。
6.1.2原始数据录入
6.1.2.1在对照品的位置输入对照品峰面积(A)、对照品溶液浓度(C)。
6.1.2.2在供试品区域输入供试品峰面积(A)、样品重量(W)、稀释因子(ml)。
6.1.2.3供试品平均装量(mg/粒)、理论塔板数数据。
6.1.3使用人员应对输入的原始数据进行自行复核,防止录入错误数据。
6.1.4检查电子表格结果与判定结论是否都为符合规定,如有空单元格应查明原因。
6.1.5无红色提示及结果判定完全符合规定时打印记录,并及时签署姓名和日期。
6.1.6复核人应认真仔细地核对原始数据以及输入电子表格的数据,确认无误时及时签署姓名和日期。
6.2注意事项
6.2.1删除数据时可用“Backspace”或“Delete”键,不可以使用“剪切”操作。否则计算公式会出错。
6.2.2数据录入
6.2.2.1峰面积录入应以实际位数为准,录入时无需修约。
6.2.2.2样品重量、供试品平均装量、录入4位小数。
6.2.2.3稀释因子、理论塔板数、供试品进样量为整数。
6.2.2.4输入数据应在单元格中央。
6.3预警提示
输入的原始数据或过程的二次数据单元格出现红色数据提示说明该数据超出预定范围,应查明原因。


公众号
GMP办公室

专业的GMP合规性研究组织
国内外(FDA、EMA、MHRA、CFDA、WHO、PIC/S等)GMP法规解读;
国内外制药行业GMP监管动态;
GMP技术指南(ISPE、PDA、ISO、ASTM等)分享

