当前位置:首页>Excel>不是excel不好用!而是这款超级版Excel更有性价比!

不是excel不好用!而是这款超级版Excel更有性价比!

  • 2026-04-29 17:29:33
不是excel不好用!而是这款超级版Excel更有性价比!
这是数据分析师的进阶基地。我们聊BI工具、看指标体系、做业务建模、讲实战案例,帮你从分析报表到洞察业务,真正用数据说话。
点击 阅读原文 或复制链接 https://s.fanruan.com/3sloo免费体验0代码数据分析工具。

用了十年Excel,直到数据量超过10万行卡到崩溃、每天重复做同一张报表做到手麻、跨部门汇总永远对不齐版本……

我才发现:Excel是神兵,但企业级战场需要“超级版Excel”。

在企业日常办公与数据管理中,Excel 是陪伴无数人成长的基础工具——简单、灵活、随处可用。

但是在处理大规模、批量、每日都需要的数据的时候,我会使用九数云BI这款超级版excel来替代:

两者并非替代对立,而是场景互补、能力递进:

  • Excel 擅长轻量单兵作战
  • 九数云擅长规模化、自动化、协同化数据分析

本文用纯干货,一次性讲清两款工具的核心能力与差异,帮你精准选择、高效使用。

一、Excel:经典好用,但扛不住企业级数据压力

Excel是全球普及度最高的电子表格工具,经过数十年迭代,它形成了完整、稳定、易用的数据处理体系——数据录入与整理、函数公式、图表可视化、数据透视表、条件格式等,覆盖了个人与小型团队日常数据分析的方方面面。

但随着业务规模扩张,Excel的短板也暴露无遗:

  • 依赖本地电脑,数据量一大就卡顿甚至崩溃
  • 数据更新全凭手动,每天重复劳动
  • 跨部门协作版本混乱
  • 无法直连业务系统,整合数据只能靠人工复制粘贴
  • 历史版本难追溯,安全无保障

简单说,Excel适合单兵轻量作战,却撑不起规模化、自动化、协同化的企业级数据工作。


二、不是Excel的错,而是场景升级了

其实,这些问题并不是Excel的错。

它的定位本来就是一款基础的电子表格工具,面向个人和小型团队的轻量数据处理。

但当这些痛点天天找上门,消耗着时间和精力,人们不禁会想:

有没有一款工具,既能保留Excel的操作习惯,不用重新学习,又能解决Excel搞不定的难题?

点击 阅读原文 或 复制链接  https://s.fanruan.com/3sloo 免费体验老贼同款0代码数据分析工具。

文中部分模板需要付费,文末扫码领取免费授权码


三、九数云:被称为“超级版Excel”的答案

直到接触到九数云——帆软旗下的零代码SaaS BI工具,依托帆软19年的BI技术积淀,定位是让业务人员零门槛完成企业级数据分析。很多人用过之后,都叫它“超级版Excel”。

1. 大数据量处理:千万行级别,秒级响应

Excel处理几万行数据就会明显卡顿,超过10万行甚至会崩溃。

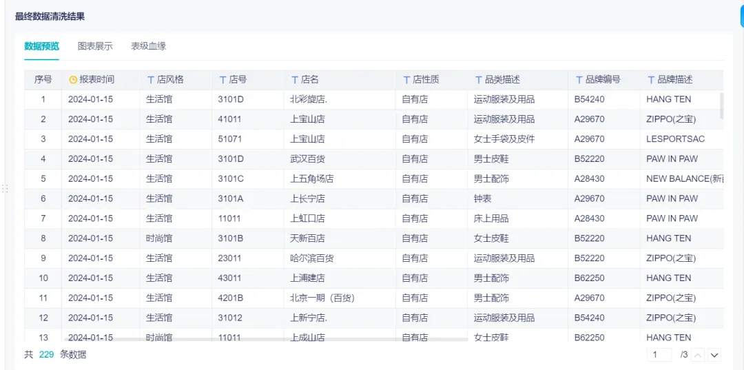
而九数云采用云端引擎,支持千万行级别的数据流畅处理——筛选、汇总、计算、排序,全部秒级响应,从不卡顿或未响应。

它不占用本地电脑内存,哪怕是配置普通的办公电脑,也能轻松操作。

2. 告别重复报表:一次设置,自动生成

以前每天花一小时手动导数据、做报表,现在只需在九数云里设置一次数据同步规则,它就能自动从ERP、财务、电商等各个业务系统抓取数据,支持每小时自动更新、定时刷新。

后续无需任何手动操作,每天早上打开电脑,报表就已经自动生成,且都是最新数据。

3. 多系统数据整合:80+数据源直连,零代码

九数云支持80+数据源直连,无论是ERP系统、财务系统、电商后台,还是简道云、飞书表格,都能一键对接。无需手动导出数据,也不用编写任何API代码,零IT运维成本,实现多系统数据的自动聚合。

点击 阅读原文 或 复制链接  https://s.fanruan.com/3sloo 免费体验老贼同款0代码数据分析工具。

文中部分模板需要付费,文末扫码领取免费授权码

4. 跨部门协同:云端共享,版本统一

九数云采用云端共享模式,同一张报表可以邀请多个部门共同编辑、查看,所有人看到的都是最新版本,再也不会出现“最终版v2”的混乱。

它支持历史版本回溯,每一次修改都会留下痕迹,随时可以查看之前版本,一旦出问题能快速追溯。同时支持精细化权限管理,根据不同部门、岗位分配不同的查看/编辑权限。

5. 可视化与自动化通知:让数据“说话”

九数云拥有40+图表类型,拖拽式操作,快速制作专业、美观的可视化报表。支持图表联动、钻取,点击图表就能查看明细数据,让数据呈现更直观、清晰。

同时支持自动化通知功能:设置好关键指标的预警值后,一旦数据出现异常,就会自动计算并推送提醒,支持钉钉、企业微信、飞书、短信等多种渠道。

点击 阅读原文 或 复制链接  https://s.fanruan.com/3sloo 免费体验老贼同款0代码数据分析工具。

文中部分模板需要付费,文末扫码领取免费授权码

6. 零门槛上手:像Excel一样简单

九数云的界面设计非常贴近Excel的操作习惯,大部分功能都是拖拽式操作,不需要编写任何代码,也不用掌握复杂的函数公式。哪怕是不懂技术的业务人员,当天上手就能制作专业的数据分析报表。

凭多年使用Excel的经验,几乎不用花时间学习,就能熟练掌握核心功能。


写在最后

做数据这十年,用过很多工具,但九数云是最让人惊喜、最离不开的一款。

它不仅解决了工作中的诸多痛点,提升了工作效率,更让人对数据分析工作有了新的认知。

如果你也每天被大数据量卡顿、重复做报表、跨部门协同混乱等问题困扰,如果你也在寻找一款操作简单、功能强大的数据分析工具,那么强烈推荐你试试九数云。


点击 阅读原文或复制链接 https://s.fanruan.com/3sloo免费体验0代码数据分析工具。

扫描下方二维码获取老贼同款0代码数据分析工具免费试用+100+数据分析模板

如果你觉得对你有用的话,就收藏起来使用吧!我们下期见!
这是数据分析师的进阶基地。我们聊BI工具、看指标体系、做业务建模、讲实战案例,帮你从分析报表到洞察业务,真正用数据说话。

最新文章

随机文章

基本 文件 流程 错误 SQL 调试
  1. 请求信息 : 2026-04-29 23:39:44 HTTP/2.0 GET : https://h.sjds.net/a/502251.html
  2. 运行时间 : 0.148606s [ 吞吐率:6.73req/s ] 内存消耗:4,342.20kb 文件加载:140
  3. 缓存信息 : 0 reads,0 writes
  4. 会话信息 : SESSION_ID=07506612cfc3b0d2920037b719be5245
  1. /yingpanguazai/ssd/ssd1/www/h.sjds.net/public/index.php ( 0.79 KB )
  2. /yingpanguazai/ssd/ssd1/www/h.sjds.net/vendor/autoload.php ( 0.17 KB )
  3. /yingpanguazai/ssd/ssd1/www/h.sjds.net/vendor/composer/autoload_real.php ( 2.49 KB )
  4. /yingpanguazai/ssd/ssd1/www/h.sjds.net/vendor/composer/platform_check.php ( 0.90 KB )
  5. /yingpanguazai/ssd/ssd1/www/h.sjds.net/vendor/composer/ClassLoader.php ( 14.03 KB )
  6. /yingpanguazai/ssd/ssd1/www/h.sjds.net/vendor/composer/autoload_static.php ( 4.90 KB )
  7. /yingpanguazai/ssd/ssd1/www/h.sjds.net/vendor/topthink/think-helper/src/helper.php ( 8.34 KB )
  8. /yingpanguazai/ssd/ssd1/www/h.sjds.net/vendor/topthink/think-validate/src/helper.php ( 2.19 KB )
  9. /yingpanguazai/ssd/ssd1/www/h.sjds.net/vendor/topthink/think-orm/src/helper.php ( 1.47 KB )
  10. /yingpanguazai/ssd/ssd1/www/h.sjds.net/vendor/topthink/think-orm/stubs/load_stubs.php ( 0.16 KB )
  11. /yingpanguazai/ssd/ssd1/www/h.sjds.net/vendor/topthink/framework/src/think/Exception.php ( 1.69 KB )
  12. /yingpanguazai/ssd/ssd1/www/h.sjds.net/vendor/topthink/think-container/src/Facade.php ( 2.71 KB )
  13. /yingpanguazai/ssd/ssd1/www/h.sjds.net/vendor/symfony/deprecation-contracts/function.php ( 0.99 KB )
  14. /yingpanguazai/ssd/ssd1/www/h.sjds.net/vendor/symfony/polyfill-mbstring/bootstrap.php ( 8.26 KB )
  15. /yingpanguazai/ssd/ssd1/www/h.sjds.net/vendor/symfony/polyfill-mbstring/bootstrap80.php ( 9.78 KB )
  16. /yingpanguazai/ssd/ssd1/www/h.sjds.net/vendor/symfony/var-dumper/Resources/functions/dump.php ( 1.49 KB )
  17. /yingpanguazai/ssd/ssd1/www/h.sjds.net/vendor/topthink/think-dumper/src/helper.php ( 0.18 KB )
  18. /yingpanguazai/ssd/ssd1/www/h.sjds.net/vendor/symfony/var-dumper/VarDumper.php ( 4.30 KB )
  19. /yingpanguazai/ssd/ssd1/www/h.sjds.net/vendor/topthink/framework/src/think/App.php ( 15.30 KB )
  20. /yingpanguazai/ssd/ssd1/www/h.sjds.net/vendor/topthink/think-container/src/Container.php ( 15.76 KB )
  21. /yingpanguazai/ssd/ssd1/www/h.sjds.net/vendor/psr/container/src/ContainerInterface.php ( 1.02 KB )
  22. /yingpanguazai/ssd/ssd1/www/h.sjds.net/app/provider.php ( 0.19 KB )
  23. /yingpanguazai/ssd/ssd1/www/h.sjds.net/vendor/topthink/framework/src/think/Http.php ( 6.04 KB )
  24. /yingpanguazai/ssd/ssd1/www/h.sjds.net/vendor/topthink/think-helper/src/helper/Str.php ( 7.29 KB )
  25. /yingpanguazai/ssd/ssd1/www/h.sjds.net/vendor/topthink/framework/src/think/Env.php ( 4.68 KB )
  26. /yingpanguazai/ssd/ssd1/www/h.sjds.net/app/common.php ( 0.03 KB )
  27. /yingpanguazai/ssd/ssd1/www/h.sjds.net/vendor/topthink/framework/src/helper.php ( 18.78 KB )
  28. /yingpanguazai/ssd/ssd1/www/h.sjds.net/vendor/topthink/framework/src/think/Config.php ( 5.54 KB )
  29. /yingpanguazai/ssd/ssd1/www/h.sjds.net/config/app.php ( 0.95 KB )
  30. /yingpanguazai/ssd/ssd1/www/h.sjds.net/config/cache.php ( 0.78 KB )
  31. /yingpanguazai/ssd/ssd1/www/h.sjds.net/config/console.php ( 0.23 KB )
  32. /yingpanguazai/ssd/ssd1/www/h.sjds.net/config/cookie.php ( 0.56 KB )
  33. /yingpanguazai/ssd/ssd1/www/h.sjds.net/config/database.php ( 2.48 KB )
  34. /yingpanguazai/ssd/ssd1/www/h.sjds.net/vendor/topthink/framework/src/think/facade/Env.php ( 1.67 KB )
  35. /yingpanguazai/ssd/ssd1/www/h.sjds.net/config/filesystem.php ( 0.61 KB )
  36. /yingpanguazai/ssd/ssd1/www/h.sjds.net/config/lang.php ( 0.91 KB )
  37. /yingpanguazai/ssd/ssd1/www/h.sjds.net/config/log.php ( 1.35 KB )
  38. /yingpanguazai/ssd/ssd1/www/h.sjds.net/config/middleware.php ( 0.19 KB )
  39. /yingpanguazai/ssd/ssd1/www/h.sjds.net/config/route.php ( 1.89 KB )
  40. /yingpanguazai/ssd/ssd1/www/h.sjds.net/config/session.php ( 0.57 KB )
  41. /yingpanguazai/ssd/ssd1/www/h.sjds.net/config/trace.php ( 0.34 KB )
  42. /yingpanguazai/ssd/ssd1/www/h.sjds.net/config/view.php ( 0.82 KB )
  43. /yingpanguazai/ssd/ssd1/www/h.sjds.net/app/event.php ( 0.25 KB )
  44. /yingpanguazai/ssd/ssd1/www/h.sjds.net/vendor/topthink/framework/src/think/Event.php ( 7.67 KB )
  45. /yingpanguazai/ssd/ssd1/www/h.sjds.net/app/service.php ( 0.13 KB )
  46. /yingpanguazai/ssd/ssd1/www/h.sjds.net/app/AppService.php ( 0.26 KB )
  47. /yingpanguazai/ssd/ssd1/www/h.sjds.net/vendor/topthink/framework/src/think/Service.php ( 1.64 KB )
  48. /yingpanguazai/ssd/ssd1/www/h.sjds.net/vendor/topthink/framework/src/think/Lang.php ( 7.35 KB )
  49. /yingpanguazai/ssd/ssd1/www/h.sjds.net/vendor/topthink/framework/src/lang/zh-cn.php ( 13.70 KB )
  50. /yingpanguazai/ssd/ssd1/www/h.sjds.net/vendor/topthink/framework/src/think/initializer/Error.php ( 3.31 KB )
  51. /yingpanguazai/ssd/ssd1/www/h.sjds.net/vendor/topthink/framework/src/think/initializer/RegisterService.php ( 1.33 KB )
  52. /yingpanguazai/ssd/ssd1/www/h.sjds.net/vendor/services.php ( 0.14 KB )
  53. /yingpanguazai/ssd/ssd1/www/h.sjds.net/vendor/topthink/framework/src/think/service/PaginatorService.php ( 1.52 KB )
  54. /yingpanguazai/ssd/ssd1/www/h.sjds.net/vendor/topthink/framework/src/think/service/ValidateService.php ( 0.99 KB )
  55. /yingpanguazai/ssd/ssd1/www/h.sjds.net/vendor/topthink/framework/src/think/service/ModelService.php ( 2.04 KB )
  56. /yingpanguazai/ssd/ssd1/www/h.sjds.net/vendor/topthink/think-trace/src/Service.php ( 0.77 KB )
  57. /yingpanguazai/ssd/ssd1/www/h.sjds.net/vendor/topthink/framework/src/think/Middleware.php ( 6.72 KB )
  58. /yingpanguazai/ssd/ssd1/www/h.sjds.net/vendor/topthink/framework/src/think/initializer/BootService.php ( 0.77 KB )
  59. /yingpanguazai/ssd/ssd1/www/h.sjds.net/vendor/topthink/think-orm/src/Paginator.php ( 11.86 KB )
  60. /yingpanguazai/ssd/ssd1/www/h.sjds.net/vendor/topthink/think-validate/src/Validate.php ( 63.20 KB )
  61. /yingpanguazai/ssd/ssd1/www/h.sjds.net/vendor/topthink/think-orm/src/Model.php ( 23.55 KB )
  62. /yingpanguazai/ssd/ssd1/www/h.sjds.net/vendor/topthink/think-orm/src/model/concern/Attribute.php ( 21.05 KB )
  63. /yingpanguazai/ssd/ssd1/www/h.sjds.net/vendor/topthink/think-orm/src/model/concern/AutoWriteData.php ( 4.21 KB )
  64. /yingpanguazai/ssd/ssd1/www/h.sjds.net/vendor/topthink/think-orm/src/model/concern/Conversion.php ( 6.44 KB )
  65. /yingpanguazai/ssd/ssd1/www/h.sjds.net/vendor/topthink/think-orm/src/model/concern/DbConnect.php ( 5.16 KB )
  66. /yingpanguazai/ssd/ssd1/www/h.sjds.net/vendor/topthink/think-orm/src/model/concern/ModelEvent.php ( 2.33 KB )
  67. /yingpanguazai/ssd/ssd1/www/h.sjds.net/vendor/topthink/think-orm/src/model/concern/RelationShip.php ( 28.29 KB )
  68. /yingpanguazai/ssd/ssd1/www/h.sjds.net/vendor/topthink/think-helper/src/contract/Arrayable.php ( 0.09 KB )
  69. /yingpanguazai/ssd/ssd1/www/h.sjds.net/vendor/topthink/think-helper/src/contract/Jsonable.php ( 0.13 KB )
  70. /yingpanguazai/ssd/ssd1/www/h.sjds.net/vendor/topthink/think-orm/src/model/contract/Modelable.php ( 0.09 KB )
  71. /yingpanguazai/ssd/ssd1/www/h.sjds.net/vendor/topthink/framework/src/think/Db.php ( 2.88 KB )
  72. /yingpanguazai/ssd/ssd1/www/h.sjds.net/vendor/topthink/think-orm/src/DbManager.php ( 8.52 KB )
  73. /yingpanguazai/ssd/ssd1/www/h.sjds.net/vendor/topthink/framework/src/think/Log.php ( 6.28 KB )
  74. /yingpanguazai/ssd/ssd1/www/h.sjds.net/vendor/topthink/framework/src/think/Manager.php ( 3.92 KB )
  75. /yingpanguazai/ssd/ssd1/www/h.sjds.net/vendor/psr/log/src/LoggerTrait.php ( 2.69 KB )
  76. /yingpanguazai/ssd/ssd1/www/h.sjds.net/vendor/psr/log/src/LoggerInterface.php ( 2.71 KB )
  77. /yingpanguazai/ssd/ssd1/www/h.sjds.net/vendor/topthink/framework/src/think/Cache.php ( 4.92 KB )
  78. /yingpanguazai/ssd/ssd1/www/h.sjds.net/vendor/psr/simple-cache/src/CacheInterface.php ( 4.71 KB )
  79. /yingpanguazai/ssd/ssd1/www/h.sjds.net/vendor/topthink/think-helper/src/helper/Arr.php ( 16.63 KB )
  80. /yingpanguazai/ssd/ssd1/www/h.sjds.net/vendor/topthink/framework/src/think/cache/driver/File.php ( 7.84 KB )
  81. /yingpanguazai/ssd/ssd1/www/h.sjds.net/vendor/topthink/framework/src/think/cache/Driver.php ( 9.03 KB )
  82. /yingpanguazai/ssd/ssd1/www/h.sjds.net/vendor/topthink/framework/src/think/contract/CacheHandlerInterface.php ( 1.99 KB )
  83. /yingpanguazai/ssd/ssd1/www/h.sjds.net/app/Request.php ( 0.09 KB )
  84. /yingpanguazai/ssd/ssd1/www/h.sjds.net/vendor/topthink/framework/src/think/Request.php ( 55.78 KB )
  85. /yingpanguazai/ssd/ssd1/www/h.sjds.net/app/middleware.php ( 0.25 KB )
  86. /yingpanguazai/ssd/ssd1/www/h.sjds.net/vendor/topthink/framework/src/think/Pipeline.php ( 2.61 KB )
  87. /yingpanguazai/ssd/ssd1/www/h.sjds.net/vendor/topthink/think-trace/src/TraceDebug.php ( 3.40 KB )
  88. /yingpanguazai/ssd/ssd1/www/h.sjds.net/vendor/topthink/framework/src/think/middleware/SessionInit.php ( 1.94 KB )
  89. /yingpanguazai/ssd/ssd1/www/h.sjds.net/vendor/topthink/framework/src/think/Session.php ( 1.80 KB )
  90. /yingpanguazai/ssd/ssd1/www/h.sjds.net/vendor/topthink/framework/src/think/session/driver/File.php ( 6.27 KB )
  91. /yingpanguazai/ssd/ssd1/www/h.sjds.net/vendor/topthink/framework/src/think/contract/SessionHandlerInterface.php ( 0.87 KB )
  92. /yingpanguazai/ssd/ssd1/www/h.sjds.net/vendor/topthink/framework/src/think/session/Store.php ( 7.12 KB )
  93. /yingpanguazai/ssd/ssd1/www/h.sjds.net/vendor/topthink/framework/src/think/Route.php ( 23.73 KB )
  94. /yingpanguazai/ssd/ssd1/www/h.sjds.net/vendor/topthink/framework/src/think/route/RuleName.php ( 5.75 KB )
  95. /yingpanguazai/ssd/ssd1/www/h.sjds.net/vendor/topthink/framework/src/think/route/Domain.php ( 2.53 KB )
  96. /yingpanguazai/ssd/ssd1/www/h.sjds.net/vendor/topthink/framework/src/think/route/RuleGroup.php ( 22.43 KB )
  97. /yingpanguazai/ssd/ssd1/www/h.sjds.net/vendor/topthink/framework/src/think/route/Rule.php ( 26.95 KB )
  98. /yingpanguazai/ssd/ssd1/www/h.sjds.net/vendor/topthink/framework/src/think/route/RuleItem.php ( 9.78 KB )
  99. /yingpanguazai/ssd/ssd1/www/h.sjds.net/route/app.php ( 1.72 KB )
  100. /yingpanguazai/ssd/ssd1/www/h.sjds.net/vendor/topthink/framework/src/think/facade/Route.php ( 4.70 KB )
  101. /yingpanguazai/ssd/ssd1/www/h.sjds.net/vendor/topthink/framework/src/think/route/dispatch/Controller.php ( 4.74 KB )
  102. /yingpanguazai/ssd/ssd1/www/h.sjds.net/vendor/topthink/framework/src/think/route/Dispatch.php ( 10.44 KB )
  103. /yingpanguazai/ssd/ssd1/www/h.sjds.net/app/controller/Index.php ( 4.81 KB )
  104. /yingpanguazai/ssd/ssd1/www/h.sjds.net/app/BaseController.php ( 2.05 KB )
  105. /yingpanguazai/ssd/ssd1/www/h.sjds.net/vendor/topthink/think-orm/src/facade/Db.php ( 0.93 KB )
  106. /yingpanguazai/ssd/ssd1/www/h.sjds.net/vendor/topthink/think-orm/src/db/connector/Mysql.php ( 5.44 KB )
  107. /yingpanguazai/ssd/ssd1/www/h.sjds.net/vendor/topthink/think-orm/src/db/PDOConnection.php ( 52.47 KB )
  108. /yingpanguazai/ssd/ssd1/www/h.sjds.net/vendor/topthink/think-orm/src/db/Connection.php ( 8.39 KB )
  109. /yingpanguazai/ssd/ssd1/www/h.sjds.net/vendor/topthink/think-orm/src/db/ConnectionInterface.php ( 4.57 KB )
  110. /yingpanguazai/ssd/ssd1/www/h.sjds.net/vendor/topthink/think-orm/src/db/builder/Mysql.php ( 16.58 KB )
  111. /yingpanguazai/ssd/ssd1/www/h.sjds.net/vendor/topthink/think-orm/src/db/Builder.php ( 24.06 KB )
  112. /yingpanguazai/ssd/ssd1/www/h.sjds.net/vendor/topthink/think-orm/src/db/BaseBuilder.php ( 27.50 KB )
  113. /yingpanguazai/ssd/ssd1/www/h.sjds.net/vendor/topthink/think-orm/src/db/Query.php ( 15.71 KB )
  114. /yingpanguazai/ssd/ssd1/www/h.sjds.net/vendor/topthink/think-orm/src/db/BaseQuery.php ( 45.13 KB )
  115. /yingpanguazai/ssd/ssd1/www/h.sjds.net/vendor/topthink/think-orm/src/db/concern/TimeFieldQuery.php ( 7.43 KB )
  116. /yingpanguazai/ssd/ssd1/www/h.sjds.net/vendor/topthink/think-orm/src/db/concern/AggregateQuery.php ( 3.26 KB )
  117. /yingpanguazai/ssd/ssd1/www/h.sjds.net/vendor/topthink/think-orm/src/db/concern/ModelRelationQuery.php ( 20.07 KB )
  118. /yingpanguazai/ssd/ssd1/www/h.sjds.net/vendor/topthink/think-orm/src/db/concern/ParamsBind.php ( 3.66 KB )
  119. /yingpanguazai/ssd/ssd1/www/h.sjds.net/vendor/topthink/think-orm/src/db/concern/ResultOperation.php ( 7.01 KB )
  120. /yingpanguazai/ssd/ssd1/www/h.sjds.net/vendor/topthink/think-orm/src/db/concern/WhereQuery.php ( 19.37 KB )
  121. /yingpanguazai/ssd/ssd1/www/h.sjds.net/vendor/topthink/think-orm/src/db/concern/JoinAndViewQuery.php ( 7.11 KB )
  122. /yingpanguazai/ssd/ssd1/www/h.sjds.net/vendor/topthink/think-orm/src/db/concern/TableFieldInfo.php ( 2.63 KB )
  123. /yingpanguazai/ssd/ssd1/www/h.sjds.net/vendor/topthink/think-orm/src/db/concern/Transaction.php ( 2.77 KB )
  124. /yingpanguazai/ssd/ssd1/www/h.sjds.net/vendor/topthink/framework/src/think/log/driver/File.php ( 5.96 KB )
  125. /yingpanguazai/ssd/ssd1/www/h.sjds.net/vendor/topthink/framework/src/think/contract/LogHandlerInterface.php ( 0.86 KB )
  126. /yingpanguazai/ssd/ssd1/www/h.sjds.net/vendor/topthink/framework/src/think/log/Channel.php ( 3.89 KB )
  127. /yingpanguazai/ssd/ssd1/www/h.sjds.net/vendor/topthink/framework/src/think/event/LogRecord.php ( 1.02 KB )
  128. /yingpanguazai/ssd/ssd1/www/h.sjds.net/vendor/topthink/think-helper/src/Collection.php ( 16.47 KB )
  129. /yingpanguazai/ssd/ssd1/www/h.sjds.net/vendor/topthink/framework/src/think/facade/View.php ( 1.70 KB )
  130. /yingpanguazai/ssd/ssd1/www/h.sjds.net/vendor/topthink/framework/src/think/View.php ( 4.39 KB )
  131. /yingpanguazai/ssd/ssd1/www/h.sjds.net/vendor/topthink/framework/src/think/Response.php ( 8.81 KB )
  132. /yingpanguazai/ssd/ssd1/www/h.sjds.net/vendor/topthink/framework/src/think/response/View.php ( 3.29 KB )
  133. /yingpanguazai/ssd/ssd1/www/h.sjds.net/vendor/topthink/framework/src/think/Cookie.php ( 6.06 KB )
  134. /yingpanguazai/ssd/ssd1/www/h.sjds.net/vendor/topthink/think-view/src/Think.php ( 8.38 KB )
  135. /yingpanguazai/ssd/ssd1/www/h.sjds.net/vendor/topthink/framework/src/think/contract/TemplateHandlerInterface.php ( 1.60 KB )
  136. /yingpanguazai/ssd/ssd1/www/h.sjds.net/vendor/topthink/think-template/src/Template.php ( 46.61 KB )
  137. /yingpanguazai/ssd/ssd1/www/h.sjds.net/vendor/topthink/think-template/src/template/driver/File.php ( 2.41 KB )
  138. /yingpanguazai/ssd/ssd1/www/h.sjds.net/vendor/topthink/think-template/src/template/contract/DriverInterface.php ( 0.86 KB )
  139. /yingpanguazai/ssd/ssd1/www/h.sjds.net/runtime/temp/ad153693ed39fba6d1bda2fe72512cde.php ( 12.06 KB )
  140. /yingpanguazai/ssd/ssd1/www/h.sjds.net/vendor/topthink/think-trace/src/Html.php ( 4.42 KB )
  1. CONNECT:[ UseTime:0.000572s ] mysql:host=127.0.0.1;port=3306;dbname=h_sjds;charset=utf8mb4
  2. SHOW FULL COLUMNS FROM `fenlei` [ RunTime:0.000840s ]
  3. SELECT * FROM `fenlei` WHERE `fid` = 0 [ RunTime:0.000309s ]
  4. SELECT * FROM `fenlei` WHERE `fid` = 63 [ RunTime:0.000246s ]
  5. SHOW FULL COLUMNS FROM `set` [ RunTime:0.000525s ]
  6. SELECT * FROM `set` [ RunTime:0.000216s ]
  7. SHOW FULL COLUMNS FROM `article` [ RunTime:0.000615s ]
  8. SELECT * FROM `article` WHERE `id` = 502251 LIMIT 1 [ RunTime:0.000419s ]
  9. UPDATE `article` SET `lasttime` = 1777477184 WHERE `id` = 502251 [ RunTime:0.007616s ]
  10. SELECT * FROM `fenlei` WHERE `id` = 65 LIMIT 1 [ RunTime:0.000279s ]
  11. SELECT * FROM `article` WHERE `id` < 502251 ORDER BY `id` DESC LIMIT 1 [ RunTime:0.000501s ]
  12. SELECT * FROM `article` WHERE `id` > 502251 ORDER BY `id` ASC LIMIT 1 [ RunTime:0.000377s ]
  13. SELECT * FROM `article` WHERE `id` < 502251 ORDER BY `id` DESC LIMIT 10 [ RunTime:0.000657s ]
  14. SELECT * FROM `article` WHERE `id` < 502251 ORDER BY `id` DESC LIMIT 10,10 [ RunTime:0.001664s ]
  15. SELECT * FROM `article` WHERE `id` < 502251 ORDER BY `id` DESC LIMIT 20,10 [ RunTime:0.004015s ]
0.150133s