| 加入2026《市政路桥实战参考》会员 |
| 2025《市政路桥实战参考》会员资料 |

目录
第一章编制依据
第二章工程概况
2.1 工程建设概况
2.2 型钢混凝土结构概况
2.3 型钢混凝土结构施工重难点
2.3.1钢结构与土建结构交叉配合施工
2.3.2厚板焊接质量控制
第三章施工安排
3.1 施工目标
3.2 管理人员配置及职责
3.3 整体施工思路
3.4 施工区段划分
3.5 工程施工重难点分析及应对措施
第四章施工进度计划
第五章资源配置计划
5.1 劳动力配置计划
5.2 机具、设备配置计划
5.3 技术复核和隐蔽验收计划
5.4 施工试验检验计划
5.5 测量计量仪器配置计划
第六章施工方法及工艺要求
6.1 钢结构安装施工方法
6.1.1 预埋件安装
6.1.2 型钢柱、梁的安装
6.1.3 型钢柱柱脚灌浆
6.1.4 钢构件现场焊接
6.2 钢筋绑扎及混凝土浇筑
6.2.1 钢筋绑扎
6.2.2 模板支护
6.2.3 混凝土浇筑
第七章质量保证措施
7.1 工程质量目标
7.2 质量控制总体思路
7.3 质量控制标准
7.3.1 型钢安装质量控制标准
7.3.2 钢筋分项工程质量控制标准
7.3.3 型钢与钢筋连接
7.3.4 模板分项工程质量控制标准
7.3.5 混凝土分项工程质量控制标准
7.3.6 确定质量控制点
7.4 检验批验收规定
7.4.1 本工程型钢混凝土工程检验批的划分
7.4.2 检验批验收措施
第八章职业健康安全管理措施
8.1 职业健康安全重大危险源
8.2 安全生产管理制度
8.2.1 安全教育培训制度
8.2.2 安全生产检查制度
8.2.3 安全技术交底制度
8.3 安全生产保证措施
8.3.1 钢结构吊装机械
8.3.2 信号指挥和起重作业管理
8.3.3 爬梯和防坠器
8.3.4 钢梁吊笼
8.3.5 立杆式安全绳
8.3.6 消防安全保障措施
8.3.7 其他措施
8.4 安全生产应急预案
8.4.1 目的及适用范围
8.4.2 应急预案的施工组织
8.4.3 应急预案小组职责和联系方式
8.4.4 应急物资
8.5 疫情防控措施
第九章环境管理计划
9.1 环境保护重点控制内容与实施目标
9.2 扬尘控制措施
9.3 垃圾的清运、回收及控制
9.4 噪声的控制措施
9.5水污染的防治措施
9.6 大气污染控制控制措施
9.7 光污染控制
第十章成品保护管理计划
10.1 成品保护管理组织和职责分工
10.2 成品保护计划及保证措施
10.2.1 制作加工成品保护措施
10.2.2 运输过程成品保护措施
10.2.3现场施工成品保护措施


本工程钢结构部分主要为混凝土柱、梁内置型钢需外包钢筋混凝土,材质为Q355B,截面形式为十字型、H型。钢柱、梁连接节点均为焊接连接,现场拼接焊缝为一级焊缝。

2.3 型钢混凝土结构施工重难点
2.3.1钢结构与土建结构交叉配合施工
本工程有劲性柱、劲性梁、预埋件等构件,施工过程中存在钢结构与钢筋穿插或搭接等情况。根据以往工程经验,往往会出现钢筋无法穿过钢板等各种问题。因此,在施工过程中需要钢结构与土建施工之间密切的配合,同时利用施工技术措施解决穿筋问题,提高安装的质量精度。
解决措施:
(1)在钢结构图纸深化过程中,及时与设计单位沟通,在深化图中反应钢筋穿孔位置、搭接方式、搭接位置等相关信息。并将深化设计图纸提供设计院及监理单位审查合格后,钢结构工厂方可进行构件制作,防止钢构件现场开孔;
(2)现场施工时,派一名钢结构深化设计人员常驻工地,及时反映施工过程出现的偏差问题,与钢结构制作厂保持紧密联系,发现问题及时配合土建单位进行调整。
2.3.2厚板焊接质量控制
本工程钢结构钢板厚度有25、30、35、38、50mm等,且十字型构件较多,构件制作形式及节点构造复杂,厚板的焊接工艺难度大,如何有效的提高厚板焊接质量,是本工程工厂加工和现场安装焊接的一大重点。
解决措施:
(1)焊工全部持证上岗,并对参与本工程焊工进行同类构件、同类材料、同类厚度附加考试,合格后才能上岗焊接,并严格限定作业范围;
(2)优化焊接顺序,采取焊前预热、焊接过程保证层间温度、焊后消应处理等措施,保证厚板焊接质量。
(3)严把材料关,即保证材料的Z向性能,并在焊接前对母材焊道中心线两侧各2倍板厚加30mm的区域增加斜探头超声波探伤检查。
(4)通过对厚板进行碳当量分析,选择适当焊接方法、预热温度、焊接材料、焊接电流、焊接电压的焊接工艺参数,并根据以上参数,进行焊接工艺评定;
(5)厚板焊接采取多层多道焊,焊前预热,预热温度不小于100℃,层间温度150~200℃,焊后保温缓冷。
(6)通过减少热输入量,合理的装配和焊接顺序,以及控制、消减残余应力措施减少焊接残余应力,减小拘束度,以利于层状撕裂的防止。
3.3 整体施工思路
型钢混凝土结构施工工序为:设计施工图审查→钢构件深化设计→设计院确认深化设计图→钢构件加工制作→构件进场验收→预埋件安装及隐蔽验收→钢柱或钢梁安装及隐蔽验收→钢筋绑扎及隐蔽验收→模板支护及验收→混凝土浇筑→拆模后混凝土养护及型钢轴线位置复核→技术质量资料整理归档。
本工程型钢柱的安装采用分段吊装的施工方法。根据现场塔吊布置情况及工况,拟将钢柱按1到2个楼层为一段进行分段吊装。对型钢梁的安装整体上按设计长度一根为一段。对于个别超长钢梁构件,综合考虑运输长度要求和塔吊吊装能力,分为2段或3段加工制作,现场吊装完成后,原位拼接成整体完成安装。
3.4 施工区段划分
本工程型钢结构主要依附于土建结构,不能单独安装形成刚性单元,又本工程型钢结构工程量较少,在进度计划中不是关键工序。故型钢结构不单独划分施工区段,按主体结构施工安排施工。

第六章施工方法及工艺要求
6.1钢结构安装施工方法
6.1.1 预埋件安装
1、预埋件类型
本工程预埋件为钢柱柱脚预埋螺杆,工程量为十字柱预埋螺杆18套,H型钢柱预埋件27套。
预埋件样式如下图:


3、预埋件安装要点
(1) 锚栓要求丝扣均匀、螺纹长度,外漏尺寸及垂直度等满足设计要求及规范要求。锚栓进场后由材料员和质检员进行验收,检查锚栓出厂合格证、实验报告、规格、尺寸、数量、丝扣长度是否符合设计要求,验收合格后按规格码放整齐,并做好标识。
(2) 轴线定位、标高确定:按照施工图纸要求,在预埋地脚锚栓处,需进行轴线放线定位,以确定定位板的位置,从而确定锚栓的地位点。
(3) 定位板固定:为保证锚栓的安装精度,采用定位板来固定锚栓位置的方法,安装前复核定位板上锚栓孔的相对位置是否符合设计和施工要求,检查合格后,固定定位板。
(4) 安装锚栓:将地脚锚栓插入定位模板预留孔内,将螺杆上部用螺帽上下固定,并边拧边校核单组锚栓的相互尺寸,并调节锚栓的水平标高和垂直度。
(5) 地脚锚栓的固定 :用短钢筋采用十字交叉的方式交叉焊接加固锚栓筋,防止锚栓在浇筑混凝土时偏位,加固完后复核锚栓的标高和垂直度。
(6) 加固完成符合要求后,对锚栓外漏丝扣进行保护,保护方法采用专用的塑料带缠裹外漏丝扣,并用胶带粘牢,防止锚栓丝扣在浇筑混凝土时受污染收到腐蚀。
4、预埋件的测量控制
(1) 利用施工测量控制网和在模板等物体上弹设的定位墨线,作为预埋件的的测量控制依据。在定位板上精确测设轴线控制标识,并选定位板上四各角点作为标高控制标识点。分四步对埋件进行定位测量控制:
1)用经纬仪、水准仪、线坠等先对定位板进行安装定位测量。
2)锚栓安装到位固定之前,对锚栓的轴线位置、标高进行调整,达到设计要求后进行固定。
3)混凝土浇筑过程中对埋件进行跟踪监控,并进行及时调整。
4)混凝土凝固后对埋件进行统一复测,并在混凝土面上弹设埋件控制线,对复测结果做好书面记录。
(2)精度控制要求:
5、预埋件安装注意事项
(1) 预埋件运输时要轻装轻放,防止变形。进场后按同型号规格堆放,并注意保护预埋件,验收应符合设计及规范要求,验收合格后用塑料胶纸包好螺纹,防止损伤生锈。
(2) 锚栓预埋前,施工人员应认真审图,对于每组预埋锚栓的形状尺寸、轴线位置、标高等均应做到心中有数,预埋顶板上事先弹好纵横向中心线。

(3) 预埋前用经纬仪测放定位轴线,用标准钢尺复核间距,用水准仪测放标高,在模板上做好放线标记。
(4) 预埋时找准纵横向控制线,并使其与测量定位的基轴线吻合。利用斜撑及契块控制标高,斜撑要将预埋件固定牢固。按照已测放好的定位轴线和标高将锚栓的上下定位套板点焊在主筋上,安好锚栓后,锚栓之间用钢筋点焊牢固。
(5) 预埋时,保证其埋设质量的关键是固定支架的牢固度。为了防止在浇灌砼时产生移动和变形,除了保证该框架应有一定的强度以外,还必须将固定框架与基础钢筋焊接固定牢固。
(6) 验收合格后,将工作面移交土建单位浇筑混凝土,钢结构施工员跟踪观察。浇注混凝土之前,应对预埋件进行复测,出现位置和标高偏差应及时校正。在浇注混凝土时派专人看护,避免振动泵碰到预埋锚栓,防止混凝土下落时冲击预埋件竖向支撑,造成预埋件偏位,做好预埋件的保护。
(7) 混凝土浇筑完毕终凝前,对预埋锚栓进行复检,发现不符合设计规范的应及时进行校正;混凝土终凝后,再对预埋锚栓进行复测,并做好测量记录。
6.1.2 型钢柱、梁的安装
1、安装思路
本工程型钢柱、梁的安装方法为分段塔吊吊装。根据施工布置现场共布置6台塔吊,塔吊型号与布置位置如下图:




2、钢结构分段
根据塔吊布置位置,在塔吊安全吊重范围对拟安装钢构件进行合理分段,加工制作完成后现场安装拼接成整体。依塔吊工况,钢结构分段如下表:

3、型钢安装技术措施



6.1.3 型钢柱柱脚灌浆
1、灌浆材料的要求
根据设计强度要求,使用A60型高强度无收缩灌浆料,进行型钢柱柱底灌浆。其抗压强度应符合表6.1.3-1的规定。

2、柱底灌浆的操作要点
(1)灌浆前,要把灌浆处用水冲洗干净,油污、浮锈等应清除干净,以保证新浇混凝土(或砂浆)与原混凝土结合牢固。
(3)灌浆时,应放一圈外模板,其边缘距设备底座边缘一般不小于50mm。
(4)灌浆工作要连续进行,不能中断,要一次灌完。砂浆灌浆过程中不允许捣动,但可以引流,要保持地脚螺栓和安装平面垂直。
(5)灌浆后,要铺设抹布洒水养护,养护日期不少于一周。
(6)二次灌浆时,应从一侧或相邻的两侧多点进行灌浆,直至从另一侧溢出为止,以利于灌浆过程中的排气。不得从四侧同时进行灌浆。
(7)灌浆开始后,必须连续进行,不能间断。并尽可能缩短灌浆时间。
(8)在灌浆过程中严禁振捣。必要时可用灌浆助推器沿灌浆层底部推动灌浆料,严禁从灌浆层中、上部推动,以确保灌浆层的匀质性。
(9)设备基础灌浆完毕后,应在灌浆后3-6小时沿设备边缘向外切45度斜角以防止自由端产生裂缝 ,如无法进行切边处理,应在灌浆后3-6小时后用抹刀将灌浆层表面压光。
2、型钢与纵筋连接的节点处理
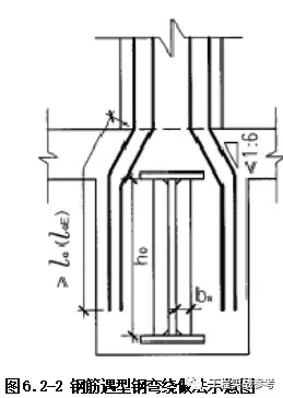
型钢与纵筋连接的处理的原则:纵筋能绕开型钢的尽量弯折绕开型钢,不能绕开型钢的用套筒与型钢连接,套筒不好焊接时通过钢筋搭接板与型钢连接。
1)当纵筋直径不大于25mm,型钢两侧有弯绕空间时,纵筋宜采用弯折绕开型钢;



1)混凝土梁在型钢中间时,在梁一端的型钢上焊接连接套筒,另一端型钢上焊接钢筋搭接板的形式满足钢筋连接要求。
3、型钢柱主筋穿插
型钢柱主筋位置必须准确,否则将影响梁筋及柱箍筋穿过腹板预留孔。为保证主筋位置准确,特采取以下方法:在型钢柱钢筋绑扎完成后,放置专用定位筋对主筋位置进行定位保护,防止钢筋偏位。
4、柱内箍筋受钢柱影响,某些钢柱内箍筋无法穿过钢柱,钢柱加工时,腹板上开设穿筋孔,箍筋加工制作时改为两个U形箍筋,绑扎时直段端穿进预留的穿筋孔,后再单面搭接焊搭接长度不小于10d,上下相邻箍筋的焊缝应错开。
5、型钢柱梁柱节点区,钢筋混凝土梁上下纵筋柱节点内钢筋摆布及锚固做法如下:梁纵筋位置及根数应结合现场情况提前放样,对位于型钢翼缘宽度范围内梁纵筋与翼缘板间连接采用直螺纹套筒连接方式,套筒规格及定位必须结合对应楼层梁平法配筋图及型钢节点详图进行确定,套筒与翼缘板连接采用工厂单边V型坡口焊。梁内其余纵筋伸至型钢腹板位置后向下弯锚。总体上应首先考虑梁内纵筋从型钢翼缘两侧绕开,当梁内部分纵筋无法避开型钢时,遇型钢翼缘纵筋可与型钢翼缘上的焊接套筒机械连接,连接套筒水平方向的净距不宜小于30mm和套筒直径,套筒采用可焊接机械连接套筒,接头形式为一级接头;遇型钢腹板可腹板工厂预开孔穿过或满足锚固长度时贴腹板弯锚。具体连接构造详见下图。

。。。。。。
篇幅过长,共70页,以下略
| 加入2026《工程实战参考》会员 |
目录二:按分类汇编

资料下载方式
点下面关注微信公众号:
